
柱のグリッドシート入力
[架構配置入力]▶〔節点・部材〕▶[柱]▶[柱のグリッドシート入力]
柱を配置します。
タブをクリックすると、
〔入力データ〕タブ、〔周辺部材〕タブ、〔座屈・横座屈〕タブ、〔弾性モデル〕タブ、〔計算条件〕タブ毎に必要な入力項目が表示されます。
グリッドシート
①節点
【節点】で定義した節点名称を入力します。
柱の材軸方向は、I端からJ端を向きます。
基準座標軸と平行する柱は、材軸の方向と基準座標軸の方向が一致するように配置します。
逆方向に配置された場合、
【応力準備計算】で自動的にI端、J端を入れ替えます。
 |
| 柱の配置 |
②一本部材
複数の連結した柱を一本の部材とみなして計算する場合、一本の部材とみなした場合の始端、終端の節点名称を入力します。
入力例(N1-N2、N2-N3、N3-N4の3部材をN1-N4の一本部材とする場合)
|
 |
|
節点 |
一本部材 |
その他のデータ |
| I端 |
J端 |
指定 |
始端 |
終端 |
| 1 |
N1 |
N2 |
1:する |
N1 |
N4 |
○ |
| 2 |
N2 |
N3 |
1:する |
N1 |
N4 |
× |
| 3 |
N3 |
N4 |
1:する |
N1 |
N4 |
× |
|
節点、一本部材以外の項目は、始端位置の設定が有効です。
③長さ
部材長さ(節点間距離)が自動的に入力されます。
④構造種別
「0:RC/SRC」、「1:S/CFT」、「2:木」、「3:その他」から選択します。
「3:その他」の場合、[材料]、[断面性能]、[剛域]、[剛性増大率]を直接入力します。
⑤断面
⑥計算条件
⑦ベースプレート
⑧接合金物
木柱に接合金物を配置する場合、
【接合金物】で定義した接合金物名称を入力します。
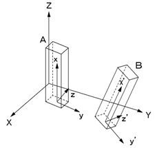
⑨部材軸
自動的に設定される部材座標系(
『基準座標系・局部座標系・部材座標系』を参照)を変更する場合、
【部材軸】で定義した部材軸名称を入力します。
 |
| A |
: |
プログラムで自動的に設定される部材座標系(x-y-z) |
| B |
: |
Aと異なる向きに部材の主軸を配置する場合は部材軸(y’-z’)を指定 |
|
| 部材軸の設定 |
⑩接合
⑪捻り剛性
捻り剛性を考慮するかを指定します。
⑫接続はり
【応力準備計算】で、自動生成することができます。
- D/2
- 接続はりのはりせいの1/2 寸法を入力します。
- 腰壁垂壁長さ
- 接続はりに腰壁・垂壁がつく場合に接続はりの腰壁・垂壁長さを入力します。
⑬付帯壁
RC/SRC柱の剛性に袖壁の効果を考慮する場合、袖壁の[長さ]、[断面]を入力します。
【応力準備計算】で、自動生成することができます。
⑭材料
⑮断面性能
⑯剛域
材軸上の剛域長さを入力します。
剛域は下図(剛域)のように設定されます。
剛域とオフセットが入力されている場合は、下図(オフセットと剛域)のように設定されます。
 |
 |
| 剛域 |
オフセットと剛域 |
【応力準備計算】で、自動生成することができます。
⑰剛性増大率
剛性を低減または増大する場合、剛性増大率(>0.0)を入力します。
[φx-材質]、[φx-付帯壁]、[φy-材質]、[φy-付帯壁]、[φz-材質]、[φz-付帯壁]、[φmy-材質]、[φmy-付帯壁]、[φmz-材質]、[φmz-付帯壁]は、
【応力準備計算】で、自動生成することができます。
軸剛性増大率φx、せん断剛性増大率φy、φz、曲げ剛性増大率φmy、φmzは、次のように計算されます。
軸剛性増大率φx=[φx-直接入力]+([φx-材質]-1.0)+([φx-付帯壁]-1.0)
せん断剛性増大率φy=[φy-直接入力]+([φy-材質]-1.0)+([φy-付帯壁]-1.0)
せん断剛性増大率φz=[φz-直接入力]+([φz-材質]-1.0)+([φz-付帯壁]-1.0)
曲げ剛性増大率φmy=[φmy-直接入力]+([φmy-材質]-1.0)+([φmy-付帯壁]-1.0)
曲げ剛性増大率φmz=[φmz-直接入力]+([φmz-材質]-1.0)+([φmz-付帯壁]-1.0)
⑱座屈長さ
座屈長さを入力します。
- 種別
- 「0:部材長さ×係数」、「1:横補剛間隔×係数」、「2:直接入力」から選択します。
座屈長さは、次のように計算されます。
| 「0:部材長さ×係数」 |
: |
座屈長さ=[長さ]×[座屈長さ係数] |
| 「1:横補剛間隔×係数」 |
: |
座屈長さ=横補剛間隔の最大値(※)×[座屈長さ係数] |
| 「2:直接入力」 |
: |
座屈長さ=[座屈長さ] |
※[横つなぎ材]の入力により計算されます。RC/SRC柱の場合は[長さ]とします。
- 座屈長さ係数
- [種別]を「0:部材長さ×係数」、「1:横補剛間隔×係数」にした場合、座屈長さ係数を入力します。
- 座屈長さ
- [種別]を「2:直接入力」にした場合、座屈長さを入力します。
⑲横つなぎ材
S/CFT・木柱のつなぎ材の本数と間隔を入力します。
- 本数
- つなぎ材の本数を入力します。
- 等間隔
- つなぎ材を等間隔に配置するかを指定します。
- 間隔
- つなぎ材を等間隔に配置しない場合に、つなぎ材の間隔を入力します。
⑳オフセット
軸上にない剛域を設定する場合、
【オフセット】で定義したオフセット名称を入力します。
㉑断面計算
- 指定
- 「0:しない」、「1:する」から選択します。
[指定]と【断面計算条件】の[計算する部材]の指定により、断面計算する部材と出力は次の通りです。
【断面計算条件】の[計算する部材]が「0:全部材」の場合、すべての部材の断面計算を行います。
【断面計算結果の出力】で[検定計算-指定方法]を「指定した部材とそれ以外の部材」にした場合、「1:する」にした部材を指定した部材、「0:しない」にした部材をそれ以外の部材の出力形式で出力します。
【構造計算書】の「9.7.詳細表」には、「1:する」にした部材を出力します。
【断面計算条件】の[計算する部材]が「1:指定した部材」の場合、「1:する」にした部材の断面計算を行います。
【構造計算書】の「9.7.詳細表」には、断面計算した部材を出力します。
【断面計算条件】の[計算する部材]が「2:指定した部材以外」の場合、「0:しない」にした部材の断面計算を行います。
【構造計算書】の「9.7.詳細表」には、断面計算した部材を出力します。
- せん断力によるコーン状破壊の考慮
- ベースプレートの終局せん断耐力に側方破壊によるせん断耐力を考慮するかを指定します。
【ベースプレート】 の[k-DB]で「セレクトベース」、「ジャストベースJEⅡ型Nタイプ」が選択されている場合に有効です。
- 燃えしろ面
- 木柱の燃えしろ面を、「0:なし」、「1:両面」、「2:片面」から選択します。
「1:両面」、「2:片面」の場合、燃えしろ計算を行います。
燃えしろは、【断面計算条件】の[木-燃えしろ計算の耐火性能]の指定によります。
テキスト形式
| 項 目 |
省略値 |
| 節点-I端 |
|
| 節点-J端 |
|
| 一本部材-指定 |
0 |
| 一本部材-I0端 |
|
| 一本部材-J0端 |
|
| 長さ |
|
| 構造種別 |
0 |
| 断面 |
|
| 計算条件 |
|
| ベースプレート |
|
| 接合金物-I端 |
|
| 接合金物-J端 |
|
| 部材軸 |
|
| 接合1-自動生成 |
1 |
| 接合1-I端 |
|
| 接合1-J端 |
|
| 接合2-自動生成 |
1 |
| 接合2-I端 |
|
| 接合2-J端 |
|
| 捻り剛性 |
0 |
| 接続はり-自動生成 |
1 |
| 接続はり-D/2-z軸-I端 |
0.0 |
| 接続はり-D/2-z軸-J端 |
0.0 |
| 接続はり-D/2-y軸-I端 |
0.0 |
| 接続はり-D/2-y軸-J端 |
0.0 |
| 接続はり-腰壁垂壁長さ-z軸-I端 |
0.0 |
| 接続はり-腰壁垂壁長さ-z軸-J端 |
0.0 |
| 接続はり-腰壁垂壁長さ-y軸-I端 |
0.0 |
| 接続はり-腰壁垂壁長さ-y軸-J端 |
0.0 |
| 付帯壁-自動生成 |
1 |
| 付帯壁-z軸-左袖壁-長さ |
0.0 |
| 付帯壁-z軸-左袖壁-断面 |
0.0 |
| 付帯壁-z軸-右袖壁-長さ |
0.0 |
| 付帯壁-z軸-右袖壁-断面 |
0.0 |
| 付帯壁-y軸-左袖壁-長さ |
0.0 |
| 付帯壁-y軸-左袖壁-断面 |
0.0 |
| 付帯壁-y軸-右袖壁-長さ |
0.0 |
| 付帯壁-y軸-右袖壁-断面 |
0.0 |
| 材料-自動生成 |
1 |
| 材料-名称 |
|
| 断面性能-自動生成 |
1 |
| 断面性能-名称 |
|
| 剛域-自動生成 |
1 |
| 剛域-z軸-I端 |
0.0 |
| 剛域-z軸-J端 |
0.0 |
| 剛域-y軸-I端 |
0.0 |
| 剛域-y軸-J端 |
0.0 |
| 剛性増大率-自動生成 |
1 |
| 剛性増大率-φx-直接入力 |
1.0 |
| 剛性増大率-φx-材質 |
1.0 |
| 剛性増大率-φx-付帯壁 |
1.0 |
| 剛性増大率-φy-直接入力 |
1.0 |
| 剛性増大率-φy-材質 |
1.0 |
| 剛性増大率-φy-付帯壁 |
1.0 |
| 剛性増大率-φz-直接入力 |
1.0 |
| 剛性増大率-φz-材質 |
1.0 |
| 剛性増大率-φz-付帯壁 |
1.0 |
| 剛性増大率-φmx |
1.0 |
| 剛性増大率-φmy-直接入力 |
1.0 |
| 剛性増大率-φmy-材質 |
1.0 |
| 剛性増大率-φmy-付帯壁 |
1.0 |
| 剛性増大率-φmz-直接入力 |
1.0 |
| 剛性増大率-φmz-材質 |
1.0 |
| 剛性増大率-φmz-付帯壁 |
1.0 |
| 座屈長さ-z軸-種別 |
0 |
| 座屈長さ-z軸-座屈長さ係数 |
0.0 |
| 座屈長さ-z軸-座屈長さ |
0.0 |
| 座屈長さ-y軸-種別 |
1 |
| 座屈長さ-y軸-座屈長さ係数 |
0.0 |
| 座屈長さ-y軸-座屈長さ |
0.0 |
| 横つなぎ材-z軸-本数 |
0 |
| 横つなぎ材-z軸-等間隔 |
1 |
| 横つなぎ材-z軸-間隔-1 |
0.0 |
| 横つなぎ材-z軸-間隔-2 |
0.0 |
| 横つなぎ材-z軸-間隔-3 |
0.0 |
| 横つなぎ材-z軸-間隔-4 |
0.0 |
| 横つなぎ材-z軸-間隔-5 |
0.0 |
| 横つなぎ材-z軸-間隔-6 |
0.0 |
| 横つなぎ材-z軸-間隔-7 |
0.0 |
| 横つなぎ材-z軸-間隔-8 |
0.0 |
| 横つなぎ材-z軸-間隔-9 |
0.0 |
| 横つなぎ材-z軸-間隔-10 |
0.0 |
| 横つなぎ材-y軸-本数 |
0 |
| 横つなぎ材-y軸-等間隔 |
1 |
| 横つなぎ材-y軸-間隔-1 |
0.0 |
| 横つなぎ材-y軸-間隔-2 |
0.0 |
| 横つなぎ材-y軸-間隔-3 |
0.0 |
| 横つなぎ材-y軸-間隔-4 |
0.0 |
| 横つなぎ材-y軸-間隔-5 |
0.0 |
| 横つなぎ材-y軸-間隔-6 |
0.0 |
| 横つなぎ材-y軸-間隔-7 |
0.0 |
| 横つなぎ材-y軸-間隔-8 |
0.0 |
| 横つなぎ材-y軸-間隔-9 |
0.0 |
| 横つなぎ材-y軸-間隔-10 |
0.0 |
| オフセット |
|
| 断面計算-指定 |
1 |
| 断面計算-せん断力によるコーン状破壊の考慮-z軸-正方向 |
0 |
| 断面計算-せん断力によるコーン状破壊の考慮-z軸-負方向 |
0 |
| 断面計算-せん断力によるコーン状破壊の考慮-y軸-正方向 |
0 |
| 断面計算-せん断力によるコーン状破壊の考慮-y軸-負方向 |
0 |
| 断面計算-燃えしろ面-z軸 |
0 |
| 断面計算-燃えしろ面-y軸 |
0 |
説明
- 構造形式が平面フレーム、立体フレームの場合、入力可能です。
- 構造形式により、次の項目が入力可能です。
| 項 目 |
平面フレーム |
立体フレーム |
| 部材軸 |
|
○ |
| 捻り剛性 |
|
○ |
| 接続はり-D/2-z軸 |
○ |
○ |
| 接続はり-D/2-y軸 |
|
○ |
| 接続はり-腰壁垂壁長さ-z軸 |
○ |
○ |
| 接続はり-腰壁垂壁長さ-y軸 |
|
○ |
| 付帯壁-z軸 |
○ |
○ |
| 付帯壁-y軸 |
|
○ |
| 剛域-z軸 |
○ |
○ |
| 剛域-y軸 |
|
○ |
| 剛性増大率-φx |
○ |
○ |
| 剛性増大率-φy |
|
○ |
| 剛性増大率-φz |
○ |
○ |
| 剛性増大率-φmx |
|
○ |
| 剛性増大率-φmy |
○ |
○ |
| 剛性増大率-φmz |
|
○ |
| 断面計算-せん断力によるコーン状破壊の考慮-z軸 |
○ |
○ |
| 断面計算-せん断力によるコーン状破壊の考慮-y軸 |
|
○ |
| 燃えしろ面-z軸 |
○ |
○ |
| 燃えしろ面-y軸 |
|
○ |
▲PAGETOP